item: 15525
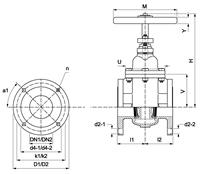
Pegler Valve type V951 is a Flanged Ductile Iron Gate Valve for the isolation of pipework and equipment. These valves have non-rising internal threaded stems and use a wheel handle making them easy to operate, it is available in sizes DN50 to DN300
Flanged connection

steam

potable water

heating

cooling
industry
commercial building
no approvals available
label
value
label
d1
value
220.0
label
DN1
value
DN200
label
l1
value
120
label
z1
value
120
label
d2
value
220.0
label
DN2
value
DN200
label
l2
value
120
label
z2
value
120
label
b2
value
20
label
M
value
360
label
H
value
418
label
Y
value
32
label
V
value
386
label
U
value
192
label
D1
value
340
label
a
value
90
item
Pegler Valve Gate Valve Flange DN200
item number with gtin
15525 (05022050215116)
product number with gtin
15525 (05022050562036)
manufacturer
Aalberts integrated piping systems Ltd (Pegler)
item group
V951 V951 - Pegler Gate Valvesize
DN200
weight
85.5 kg
dimensions
225x235x710 mm
color
blue
materials
cast iron (GG 25 (EN-GJL-250))
finishing
powder
shape
straight
connection type
flange, flange
pressure rating (PN)
PN 6
sealing
EPDM
max operating pressure liquid
6 bar
min. medium temperature
-10 °C
max medium temperature
120 °C
peak medium temperature
120 °C
Kvs-value
3693
product group
valves (EPDM)
ETIM class
EC010163 Gate valveHS code
84818069
brand
Pegler
series
Gate Valve
product type
V951
UNSPS
40141613
label
value
label
etim-class
value
EC010163 Gate valvelabel
Housing material
value
Cast iron
label
Material quality
value
Cast iron EN-GJL-250 (GG 25)
label
Outer pipe diameter all connections
value
220mm
label
Outer pipe diameter all connections (imperial)
value
8.66"
label
Connection 1
value
Flange
label
With coupling connection 1
value
Yes
label
Connection 2
value
Flange
label
With coupling connection 2
value
Yes
label
Article compression class
value
PN 6
label
Flange compression class
value
PN 6
label
Standard
value
DIN
label
FM quality mark
value
No
label
UL quality mark
value
No
label
ULC quality mark
value
No
label
LPCB quality mark
value
No
label
Medium temperature (continuous)
value
-10°C - 120°C
label
Medium temperature (continuous) (imperial)
value
14°F - 248°F
label
With position indicator
value
No
label
Spindle and/or hand wheel rising
value
No
label
With waste fitting
value
No
label
Kvs value
value
3693m³/h
label
Length of connection 1
value
120mm
label
Length of connection 1 (imperial)
value
4.72"
label
Working length connection 1
value
120mm
label
Working length connection 1 (imperial)
value
4.72"
label
Length of connection 2
value
120mm
label
Length of connection 2 (imperial)
value
4.72"
label
Working length connection 2
value
120mm
label
Working length connection 2 (imperial)
value
4.72"
label
Handle/hand wheel height
value
32mm
label
Handle/hand wheel height (imperial)
value
1.26"
label
Length of handle/diameter of hand wheel
value
360mm
label
Length of handle/diameter of hand wheel (imperial)
value
14.17"
label
VdS quality mark
value
No
label
KIWA certified
value
No
label
Gastec QA mark
value
No
label
Gastec QA - AR 214 (H2)
value
No
we are here to help
You can compare up to 2 products
You can compare up to 4 products